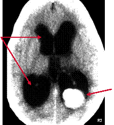
Hydrocephalus from Choroid Plexus Papilloma